Полезные статьи
Читать все статьиКусачки торцовые 200мм-1 декор. рук. цинк НИЗ
Характеристики товара
Наличие:
в наличии
Производитель:
НИЗ
Единица измерения:
шт
500
₽
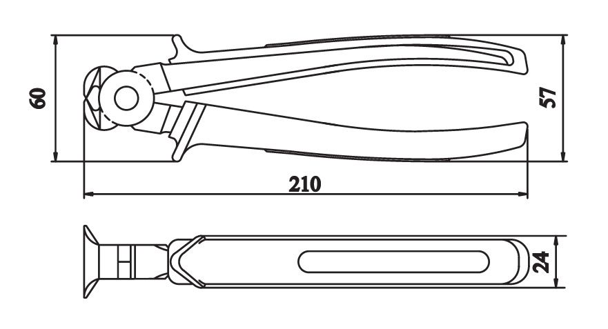
Кусачки торцовые 200 с декоративными рукоятками
ТУ 2.035.0221532.018-00
ТУ 3926-032-05797687-2014
Материал рычагов: инструментальная углеродистая сталь.
Материал рукояток: полиэтилен высокого давления.
Защитно-декоративное покрытие: цинк (Ц9.хр.бцв), никель-хром (Н6.Х.б).
Масса: 0,25 кг
Предназначены для перекусывания проволоки средней твердости с пределом прочности на растяжении 1600МПа диаметром 1,6мм.


